全国服务热线:18810011815

UPS电源免维护蓄电池十大品牌服务商

北京德尔泰科技有限公司

首页 >> 资讯中心 >>行业动态 >> 大功率UPS电源的优点
详细内容

大功率UPS电源的优点

三相大功率UPS电源主要运行在数据中心与关键电源两种场景,目前在IDC、Colo、金融、电信、医疗、半导体、石油石化、机场、轨道交通、电力等各行业得到广泛应用。经过近三十年的市场推广与实际使用,用户对工频机、高频机、固定功率一体机、模块化UPS等概念已经有了深刻的理解。

  近十年来,在大型及超大型数据中心、半导体等行业需求的推动下,三相大功率UPS电源出现了很多新的理念与创新。本文对其中重要的五大新技术做简单介绍。

三种运行模式
 

1逆变器优先运行模式(双变换)

 

  如图1所示,工频机高频机从电气变换技术角度来看,都是采用的双变换在线式技术,即能量经过整流器逆变器两次能量变换后,由逆变器提供电压精度为1%、谐波含量小于5%的正弦波交流电给负载供电。这种运行模式也可以称为:逆变器优先运行模式(双变换)。

  逆变器优先模式的优势是输出电压精度高达1%。劣势是由于能量的两次100%转换,在正常15%~60%负荷下,UPS整机效率较低仅88%~95%。同时电流每秒钟都流经整流器逆变器的功率器件,元器件疲劳老化严重,寿命降低,导致UPS可用性降低。而可用性才是用户对UPS的最重要需求。

  逆变器优先模式(双变换)本身就是一种低可用性的运行模式。这是这么多年以来才痛苦认识到的一个事实。

  有没有新的思路?小功率的后备式UPS和在线互动式UPS正常情况下是旁路市电输出供电,不是也保护了IT负荷吗?

  仔细研究我们会发现两点:

1

IT负荷其实对交流电的要求不高,允许电压-20%/+10%,频率40~70Hz,允许中断时间10~20ms。逆变器优先模式最为骄傲的1%输出精度其实没有意义。

2

今天市电电网的可用性得到了很大提高,城市10kV电网可用性达到99.94%(见表1)。这两个因素促使我们认识到三相中大功率UPS其实也可以和小功率UPS一样选择旁路优先运行模式。事实上早在2010年,各厂家三相UPS就允许用户选择工作在旁路优先模式,即ECO模式(经济模式)。

 

2旁路优先运行模式(ECO模式)

   

  如图2所示,在正常情况下,UPS优先运行在静态旁路,由市电直接给负载供电。当旁路电压超出设定窗口范围时,会切换到逆变器输出模式。该模式的优势是效率高达99%。劣势是由于市电直供,会产生双向*,输入功率因数输入谐波电流指标较差。更重要的是,当旁路故障需要切换回逆变器模式时,会出现4~20ms的切换时间,某些情况下会造成负载运行中断,极大地降低了UPS的可用性。

  在这种情况下,能否找到一种运行模式,既有高可用性,还能提高运行效率,同时性能指标参数也能满足负载要求,就成为各厂家研发的重要目标。

 

3超级旁路优先运行模式(E变换模式)

   

  施耐德公司在2012年获得了超级旁路优先模式(E变换)的专利。如图3所示,正常情况下,逆变器与旁路市电并联工作,相当于有源滤波器,逆变器提供谐波电流和无功功率,旁路市电回路提供基波电流和有功功率。输出电压由旁路决定。这种模式的优势是整流器和逆变器的功率器件流过的电流较小,元器件疲劳老化轻微,寿命延长,UPS可用性提高。由于逆变器一直在并联运行,当旁路市电超出窗口范围时,系统会0ms切换回逆变器工作,不存在切换失败切换时间长的问题。该种模式效率高达98.8%,仅次于ECO模式。另外,由于可控制旁路回路只提供基波电流和有功功率,因此输入功率因数0.99,输入谐波电流<5%。

  目前主流一线品牌厂家在三相大功率UPS系列上均与E变换技术类似的运行模式,供用户选择使用。

 

多电平逆变器技术
 

  工频机和早期的高频机均采用两电平逆变器技术。如图4所示。

  工频机采用变压器交流升压技术。工频机一般配置32只12V电池,浮充状态下直流母线电压432V,较低,只能逆变出160V交流电,只好在逆变器后端采用升压工频变压器,输出220/380V交流电。逆变器功率器件的承压为432V,较低,选用800V耐压值的IGBT即可满足要求。

  高频机采用DC/DC直流升压技术。高频机一般配置40~64只电池,为取消变压器,保证逆变器可以直接逆变出220V/380V交流电,高频机在整流器后增加了一个IGBT的DC/DC升压环节,使得两电平逆变器前端的直流母线电压达到800V,这样逆变器功率器件的承压为800V,需要选用1500V耐压值的IGBT才能满足要求。

  通过研究场效应管和IGBT等功率器件的失效率曲线,发现1500V耐压值的功率器件其失效率数倍于800V耐压值的功率器件。这样,研发人员意到降低功率器件的承压从而选择低耐压值的功率器件理论上可以提高逆变器的可用性。用户体验实践也证明工频机逆变器比两电平高频机的逆变器可用性高。为改善高频机的可用性,业内研发了三电平四电平逆变器。

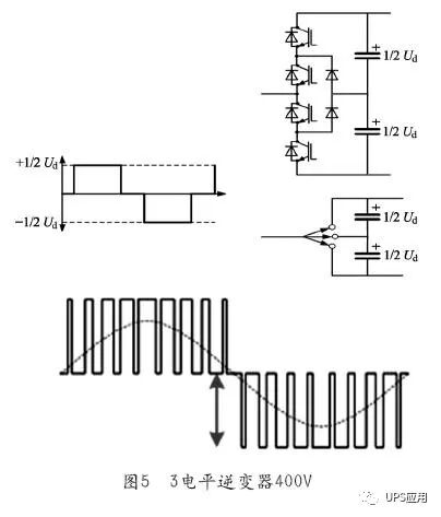
  如图5所示为三电平逆变器功率器件的承压为400V,低于工频机。

  四电平逆变器功率器件的承压为266V(见图6),远低于工频机的432V。

  施耐德公司于2010年获得了四电平逆变器技术的专利。该技术的运用,不但提高了逆变器的可用性,还提高了UPS效率,达到96.5%。

  那么是否五电平、六电平逆变器的可用性会更高呢,答案不是这样的,因为电平数越多,逆变器需要的功率器件的数量就越多,使得逆变器出故障的可能性增多。因此,需要在功率器件的耐压值和数量上找到合理的平衡。实践证明运行在全球范围内的数万台四电平逆变器可用性大大优于传统的工频机。

 

新型物理架构的大功率并机系统
 

  大型及超大型数据中心及半导体行业的用户,经常会搭建功率为1500kW及以上的UPS系统,这就需要采用多台UPS并联的系统架构。并机电气架构大家都知道有两种,多台UPS直接并机,和公用静态旁路的多台UPS并机。

  而并机物理架构目前也发展出有两种。

  如图7(a)所示并机物理结构1,为传统的多台单机通过外部配电柜和电缆进行并联,总共需要7个外部配电柜和多组电缆。每台UPS都有外配的主输入、旁路输入、UPS输出、电池回路等四把交直流断路器和四组交直流电缆,使得UPS系统操作复杂造成可用性降低、配套的配电柜和电缆成本高、对现场施工环境要求高、对现场施工人员技术要求高、施工工期长。

  为解决上述问题,必须采用新的集成化预制化的物理结构的并机系统。

  如图7(b)所示位并机物理结构2,为多台功率柜和输入输出I/O柜通过外部主配电柜和主电缆进行并联,总共需要4个配电柜和少量电缆。每台UPS功率柜内部集成了自动控制的接触器和熔断器,内部还集成和预制了主输入、旁路输入、主输出和电池母线的铜排背板与公共的I/O柜连接,每台UPS不再需要外配四把分断路器和四组分电缆。

  新型的并机物理结构简化了整个UPS系统,简化了开关机操作,铜排连接使得输出阻抗一致性高,这些特点都有利于提高UPS系统的可用性。

  新型的并机在电气架构上还包括了公用的1500kW静态旁路,这种电气架构早就被证明可用性高于普通的多台UPS直接并机的电气架构。减少了外部配套的配电柜和电缆。

  新型的并机物理结构其实也是模块化的并机架构,可以根据用户需求增减功率柜,目前市场上的功率柜一般为200~300kW。灵活性与适应性更高。

  施耐德公司最早于2003年在单系统最大可达1600kW的MW系列UPS使用了类似的并机物理架构,并于2016年改良后运用到了单系统最大可达1500kW的N+1的VX系列UPS产品上。

 

兼容锂电池,让锂电池帮我们赚钱
 

  计算可知,由于普通铅酸蓄电池大约每3~4年更换一次,在三相大功率UPS系统10~12年全生命周期过程中,用户花在电池系统上面的钱甚至超过UPS主机。事实上UPS每秒钟都在使用都在出力都在发挥价值,而电池一年只有1.22次放电机会,而且放电时间可能只有几分钟(在配套发电机系统的情况下)。可见传统模式下,我们对电池系统的利用太低了。

  由于电动汽车和储能行业的驱动,2018年锂电池的成本已经降低到1.1~1.4元/Wh,而铅酸电池的成本为0.7元/Wh。在可见的1~2年内,锂电池的价格将会与铅酸电池齐平。

  很多UPS系列都号称可以兼容锂电池,但实际上有较大差异。一种兼容是把锂电池当普通铅酸电池用。这种兼容没有任何意义,花了锂电池的价格只享受到铅酸电池的好处,得不偿失。

  而另外一种兼容是把锂电池当锂电池用,真正利用锂电池的特点,发挥其优势。锂电池相比于铅酸蓄电池在电气性能方面的优点是:可快充,可快放,循环寿命高达6000~10000次。

1
 

快放

  电池的容量是基于放电时间的。传统铅酸电池100Ah一般是基于20h放电。在大功率UPS一般要求的15min延时时间下,100Ah铅酸电池只能放出约30Ah的容量,而100Ah锂电池可以放出90Ah容量。很明显,大功率UPS常用的5~30min延时时间范围,是锂电池的天下,只需要配置铅酸电池25%~40%的容量即可达到同样的延时时间。这种情况下,锂电池系统的价格甚至会有优势,如果与胶体电池比,锂电池价格更加明显。

2
 

快充

  为更好的与锂电池进行兼容配套,新型的UPS充电功率从传统的10%~20%大幅度提升到35%、40%,甚至最高可达80%。这增加了UPS充电器和整流器的成本,但可以使得锂电池在一天内可多次快速充放电,以达到利用峰谷电价差节省运行电费成本的目的。普通UPS充电功率不足,不能利用锂电池可以快充的特点。

3
 

循环寿命6000~10000次

  前面我们说过,正常情况下,即使每年人为增加2次电池充放电维护保养,每年电池的总放电次数也不过4次,12年下来不超过50次,铅酸蓄电池循环寿命500次完全满足要求。那这个锂电池6000次循环寿命还有必要吗?还有用吗?

  大型数据中心可以很好的利用锂电池的6000~10000次循环寿命配合峰谷电价计费模式“挣钱”。这需要UPS主机有峰谷运行的功能,即在电价为0.4元的谷底时给锂电池充电,在电价为1.5元的峰值时让锂电池放电,一来一回每度电电价差1.1元。

  100Ah12V电池能放出来的电量大约为1度电,如果每天两次充放电循环,刨去效率,刨去必须保有基本30%容量不能全部放光,保守估计100Ah12V电池可以赚1.5元钱。

  锂电池日历寿命为15年,在UPS系统12年的生命周期过程中,需要365×2×12=8760(次)充放电循环,可以赚1.5×365×12=6570(元)。很明显,铅酸电池只有500次循环寿命,不能进行这种操作。

4
 

专为Colo行业研发的削峰功能

  Colo行业的用户,非常希望把变压器用足甚至用超,同样2000kVA的变压器就可以带更多的IT负载更多的机柜,赚更多的钱。但在传统UPS系统中IT负载的功率不能超过变压器的功率,否则就过载了。

  由于IT负载是一条变化的曲线,波峰时段可以比波谷负荷高10%~20%,为了让2000kVA的变压器带更多的IT平均负荷,又不能在IT波峰时过载,施耐德开发出了UPS削峰功能。

  假定我们在2000kVA变压器和配电系统后带一套2500kW的UPS系统,设计带平均值为2000kW的IT负荷。当IT负荷处于波峰时段达到2400kW时,UPS会同时利用从电网吸入的2000kW功率+电池组的400kW功率,通过逆变器给2400kW的IT负荷供电。利用锂电池储存的能量短时间内应对IT峰值,同时又不让变压器和配电系统过载。

  施耐德VX系列UPS允许最大35%功率来自于锂电池,最小65%功率来自于电网。

 

云服务提高了系统可用性
 

  行业用户对大功率UPS系统的快速恢复能力非常看重,因为这极大的决定了系统的可用性。传统的本地使用、本地监控管理、本地维护的模式注定需要较长的时间才能修复系统。

  一般的维修流程是,用户发现UPS系统故障,用户自己是不会做什么维修动作的,只能立即拨打厂家400电话,厂家技术人员通过询问用户观察到的指示灯或显示器上的报警信息来判断故障位置,可能需要1-2小时。然后400开始指派备件运输,指派工程师到用户现场。如果判断错误,可能需要二次备件运输,甚至更高级别工程师出动。整个维修恢复过程需要8~48h。

  而新型的云服务,用户的UPS或整个系统都可以直接连接到施耐德的云监控平台,施耐德有经验的熟悉产品的资深工程师24h值班监控,可以预警潜在的故障风险,提前处理。真的出现故障时可以第一时间发现故障,并快速准确判断出故障所在,立即内部调动备件与工程师,整个维修恢复过程缩短到4-24h。

  云服务彻底改变了售后维修模式,减少了故障次数,缩短了维修时间,提高了系统可用性。

 

结束

END

三相大功率UPS领域近十年来,出现了多个技术革命与创新,并已经在实际运用中被证明是切实可行的,提高了整个UPS系统的可用性、灵活性、适应性,降低了系统TCO。



技术支持: 北京德尔泰科技有限公司 | 管理登录
seo seo